卧式管道离心泵用于输送清洁水和其他物理化学性质类似于清洁水的液体。适用于工业和城市给排水,高层建筑增压输水,花园洒水灌溉,消防增压,长途运输,暖通空调和制冷循环,卫生间等冷热水循环增压及设备配套使用 。
卧式管道离心泵的安装方法
1.卧式管道离心泵分硬性联接安装和柔怀联接安装两种。
2.安装前应检查机组紧固件有无松动现象,泵体流道有无异物堵塞,以免卧式管道离心泵运行时损坏叶轮和泵体。
3.安装时必须拧紧地脚螺栓,以免起动时振动对泵性能的影响。
4.安装时管道重量不应加在水泵上,以免使卧式管道离心泵变形。
5.安装后拨动泵轴,叶轮应无磨擦声或卡死现象,否则应将泵拆开检查原因。
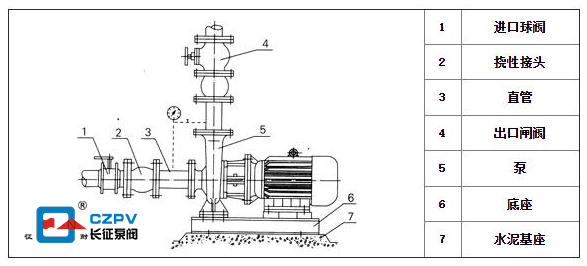
6.为了维修方便和使用安全,在它的进出口管路上各安装一只调节阀及在出口附近安装一只压力表,以保证在额定扬程和流量范围内运行,确保卧式管道离心泵正常运行,增长该泵的使用年限,使其经久耐用。
从管道安装技术上,吸水管道要求有严格的密封性,不能漏气、漏水,否则将会破坏卧式管道离心泵进水口处的真空度,使它的出水量减少,严重时甚至抽不上水来。因此,要认真地做好管道的接口工作,保证管道连接的施工质量。
以上是上海长征水泵对卧式管道离心泵的安装方法进行的总结。


CZW型卧式管道增压离心泵
LG、LG-B型-多级立式不锈钢矿用多级离心泵
czl系列单级单吸立式管道离心泵
