锅炉给水多级离心泵可以输送清水或者物理化学性质类似于清水的液体,适用于中、低压锅炉给水使用,一般可以作多级离心泵使用,被输送液体温度低于150度。下面由水泵厂家对锅炉给水多级离心泵的结构进行说明。
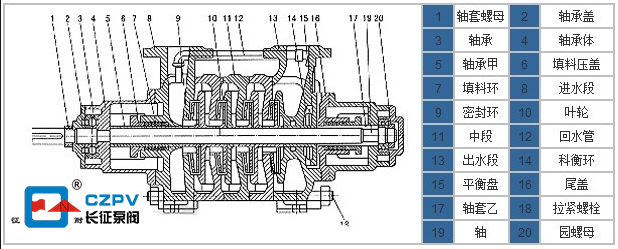
1.泵体
主要有轴承,前,中,后三段,导叶等用螺杆连接为一体,前段吸入口中线,后段吐出口中线水平垂直。
2.转子
转子主要有轴承及安装在轴上的叶轮,轴套,平衡盘等零件组成。轴上零件用平键和轴套螺母紧固,使它与轴连成一体。整个转子由两端滑动轴承支撑在泵壳体上,转子部分的叶轮数目根据该泵的级数来确定。
3.轴承
锅炉给水多级离心泵的轴承为滚动轴承,轴承不承受轴向力。在运行中应该允许转子部分在泵壳体中轴向运动,轴承用稀油润滑。
4.密封
该泵的密封面采用润滑脂密封,转子部分和固定部分之间依靠密封环,导叶套,填料密封等,当密封环和导叶套磨损时影响该泵的工作性能,应该及时予以更换。
5.平衡结构
平衡结构由平衡环,平衡盘,平衡套等组成,平衡结构用于该泵的轴向力。
6.轴封和冷却
该泵使用时,轴封一定要接水封水。采用水封水外接外来水。输送的介质高于80度时,必须向水冷填料压盖和轴封冷却室通入冷却水。


CZW型卧式管道增压离心泵
LG、LG-B型-多级立式不锈钢矿用多级离心泵
czl系列单级单吸立式管道离心泵
