QBY气动隔膜泵产品概述
QBY气动隔膜泵是一种新型的输送机械,在中国是一种新型泵。
使用压缩空气作为动力,可以排出各种腐蚀性液体,带颗粒的液体,高粘度,易挥发,易燃且剧毒的液体。
其性能参数类似于德意志联邦共和国的WLLDENPVMPS和美国的MARIOWPUMPS。工厂现已形成一系列产品,共有八个规格和直径:: 10mm3 / 8,¢ 15mm1 / 2,¢ 25mm1,,40mm11 / 2,¢ 50mm2
¢ 65mm21 / 2,¢ 80mm3, mm100mm4。
四种材料,铝合金,铸铁,工程塑料,不锈钢。
根据不同的液体介质,使用丁腈橡胶,氯丁橡胶,氟橡胶和聚四氟乙烯。
满足不同用户的需求。气动隔膜泵已被石油,化学,电子和陶瓷纺织系统单元广泛使用。它们被放置在特殊场合以泵送各种常规泵无法泵送的介质,并取得了令人满意的效果。
QBY塑料气动隔膜泵的主要特征
1、无需灌溉和引水,吸水高度z大为7m,扬程z大为50m,出口压力≥6kgf/ cm2;
2、流量宽敞,通过性能良好,允许直径z大为10mm的大颗粒。
泵送泥浆和杂质时,泵的磨损很小;
3、可以通过打开空气阀无级调节水头和流量,并且可以在1-7kgf / cm2;
4、之间调节气压。泵没有旋转部件,也没有轴封。隔膜将泵送的介质与泵的运动部件和工作介质完全隔离,输送的介质不会泄漏到外部。
因此,泵送有毒,易玩或腐蚀性介质时,不会造成环境污染和危害人身安全;
5、无需用电,在易燃易爆场所使用安全可靠;
6、可以浸入介质中工作;
7、功能便捷,工作可靠,只需打开和关闭燃气阀即可启动和停止,即使由于意外或突然停机而长时间没有介质运行,泵也不会因此受到损坏,并且泵会自动超载。
接地关机,具有自我保护性能,当负载恢复正常时,它将自动开始运行;
8、结构简单,易损件少。该泵结构简单,易于安装和维护。与其他类型的泵不同,由于转子,活塞和齿轮的作用,由泵输送的介质不会与阀,连杆等活动部件接触。
叶片和其他零件的磨损,导致性能逐渐下降;
9、它可以输送粘度低于10,000厘泊的更多粘性液体;
10、无需使用油润滑,即使空转也不会对泵产生任何影响,这是泵的主要特点。
QBY塑料气动隔膜的主要用途泵
1、泵送花生酱,泡菜,土豆泥,小香肠,苹果酱,巧克力等。
2、泵送油漆,胶和颜料。
3、所有类型的粘合剂和胶水均可泵送。
4、各种瓷砖,瓷器,砖头和
陶釉浆。
5、钻完油井后,泵送沉积物并注浆。
6、泵送各种乳液和填充剂。
7、泵送各种污水。
8、使用泵作为油轮和驳船清理仓库并吸收仓库中的污水。
9、啤酒花和发酵粉糖浆,糖浆,糖浆。
10、在矿山,隧道,隧道,选矿和矿渣中抽水。
泵水泥灌浆和砂浆。
11、各种橡胶膏。
12、各种研磨剂,腐蚀剂,油和泥,清洁油脂和普通容器。
13、各种剧毒,易燃和易挥发的液体。
14、各种强酸,强碱和强腐蚀性液体。
15、各种高温液体均可承受150℃。
16、作为各种固液分离设备的前级压力传递装置。
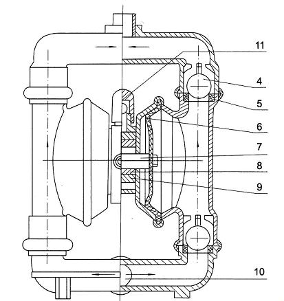
1 进气口 2 配气阀体 3 配气阀 4 圆球 5 球座 6 隔膜 7 连杆 8 连杆铜套 9 中间支架 10 泵进口 11 排气口
QBY塑料气动隔膜泵性能参数表
Note:★-有 have /-无 without
Model 1
Dischage
(m3/h)
Head
(m)
Exit
Pressure
(kgf/cm2)
Sucked
lift
(m)
Max grain D
Max
Pressure
(kgf/cm2)
消耗量
Max air
consumption
(m3/min)
ZL104
1Cr18Ni9Ti
HT200
聚丙烯
Enhanced
Polypropy lene



