前段时间我们对循环泵正确安装示意图进行了讲解,今天我们就来讲解水泵的正确安装方法。水泵安装前应该做好准备工作,根据图纸对循环水泵和电机的型号进行核对,查看循环泵各个部件的质量,认证阅读水泵产品说明书,对施工仪器进行校验。水泵安装不当大多数是没有认真阅读水泵安装使用产品说明书,对水泵的安装具体要求和注意事项不够了解,对后续水泵的安装质量产生不利的影响,安装施工过程中要对水准仪、百分表、内径千分尺等工具进行校验,防止出现偏差影响安装精度。
1.泵体的安装
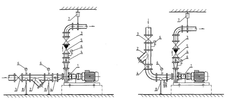
水泵安装前要做好准备工作。先对水泵和电机的预留孔进行检查、清扫和复测工作,把水泵的出水方向轴线与水泵的出水方向垂直轴以及水泵地脚螺栓的纵横四道中心线放出,接着把水泵出水方向轴线与水泵出水方向垂直轴线用经纬仪打到电机层上,再把电机的中心线放出来。根据工程图纸要求测量出水泵的高程线。有些施工人员没有把水泵出水方向的轴线和水泵的地脚螺栓线放出来,使水泵安装个体发生转角以及水泵出水管和水泵轴线不垂直,对水泵的安装美观造成影响。
水泵90度弯管安装。泵体弯管吊进泵内就能进行安装,地脚螺栓穿好,垫上可以调节的垫铁,根据叶轮中心高度推算处泵体上的轴平面标高,调整水泵泵体的高程到设计高程,再把水泵的中心线和水泵的检查中心线对上,方可完成水泵的初步就位工作。校正时可以把框平仪放到校准面上,调整垫铁时可以松紧螺丝,水泡在居中位置即可。再校核水泵的上下轴颈的同心度,在测量部件的的上端用中心架固定好球心器,悬挂好钢线,下面悬挂一个12kg~15kg的重锤,将重锤侵入装满机油的油桶里来寻求稳定,测量前可以把球心器做微量的移动并调整钢线的位置。用耳机、电池和电测量工具与钢线串成一个简单的电流回路,在内径千分尺的尖端和钢线接触时,回路接通后耳机发出细微的声响,千分尺读数是该点到垂线的距离,并且在东南西北四个方向做好记录工作,计算出各个方向垂直同心度的偏差并进行调整,直到在水平偏差在0.8mm/m,垂直同心值在0.2m以内,判为初调合格。接着进行地脚螺栓的浇灌工作,并且达到一定强度后进行精调工作。精调过程中可以调节垫块,确保水泵的垂直同心值在0.8mm以内,水平偏差值在0.03mm以内,接着把地脚螺栓拧紧,使用混凝土将垫铁浇注起来。质量问题是球心器的重锤质量太轻容易被风吹影响,重锤没有放入机油或者较为黏稠的液体中,是重锤出现摆动不能稳定。安装时只考虑垂直同心度与水平度一项达到要求,没有使两项都达到要求。假如没有调整两项符合要求则说明水泵同心度没有符合要求。两项调整符合要求后再将地脚螺栓旋紧,防止水泵运行后产生振动使水泵中心跑偏,出现卡泵情况。水泵的垫铁要用高标号混凝土浇注,混凝土面要与泵体的下口齐平并且连接要紧密。
2.水泵管道的安装
先对水泵出水方向的轴线进行出水管道的定线工作,管道的安装要从泵体开始进行安装,安装前先把管路做好支撑,在各节管法兰盘之间粘上防水橡胶密封圈,接口使用粘接,接口不应该放在管道的顶部,接着从中心线上吊下铅垂线,使管子中心和垂线拧紧螺栓对准。紧固螺栓时可以交替进行,避免法兰盘受力不平衡使管道出现接合不严的情况,把弯管、直管、伸缩管和喇叭口安装好后,可以连接透气管的工作,然后安装阀门。
3.轴和叶轮的安装
先把泵轴吊装插入泵体轴孔内,在弯管和导叶体上分别安装轴承座,使用塞规处理轴和橡胶轴承间的间隙,使测量出的间隙应该一致接着用手转动轴,感觉转动灵活即可,接着把叶轮装上,可以用手盘动叶轮并且用塞尺测量,调整叶片外缘和球形体内壁的间隙,使四周均匀并且检测叶轮的间隙值是否在规定值范围。用钢尺检查叶轮上平面和导叶体轮毅下平面的距离是否与设计要求相符合,不能出现偏在一边的情况。将传动轴吊装插入机座轴孔内,传动轴下面装上刚性联轴器,把螺帽螺栓拧紧,将传动轴压入轴承体内,轴承压盖螺栓拧紧,查看传动轴的垂直度,把框平仪放在传动轴弹性联轴器平面上进行复验水平,力求传动轴在任意转动部位上框平仪的水泡一直居中,这能说明传动轴已经处于铅锤状态,可以和水泵轴连接。再次查看传动轴与泵轴的垂直度以及刚性联轴器的同心度,等到符合要求后可以把对接螺栓拧紧。然后把传动轴上的圆螺帽进行调节,使叶轮的高程以及叶轮和导叶座的间隙符合设计要求。两轴的同心度测量能用直尺放于两个联轴器的外圆对称检查四点,测量直尺与联轴器外圆间隙,允许偏差不能大于0.1mm,假如超过要进行调整。可以调整电机底座标高或者撬动电机底座,直到符合要求为止。地脚螺栓拧紧并且把联轴器的立式上好,用百分表工具测量任意对称四个方向,使轴的摆度在0.04mm以内。质量问题是没有测量叶轮的高程以及叶轮和导叶座的间隙是否符合设计要求,使叶轮和导叶座的间隙出现过大或者过小,导致水泵不能正常工作。联轴器的水平没有检查会使电机轴与水泵轴不在一条直线上,轴的摆度过大。浇注电机座前没有用手盘动联轴器,查看是否转动灵活。这些都是需要注意的。
4.电机底座的安装
根据水泵的中心轴线放出电机中心轴线与电机地脚螺栓线,接着根据水泵的安装基准高程线与水泵轴和电机传动轴的总长并且结合设计尺寸计算出电机底座的标高。先把电机底座就位后穿好地脚螺栓。把可调垫铁垫上,用水平仪测量好标高,使用框平仪在轴底座平面上进行找平,采用内径千分尺校验其同心度,要求机架安装的中心排出不能超过规定值范围内,垂直同心度控制在0.08mm以内,调整完成后可以进行地脚螺栓的浇注工作。地脚螺栓浇注好后并且达到一定强度,可以对电机底座进行精调工作,精调达到标准后,把地脚螺栓分别紧固好,拧紧时要注意对中找平,把地脚螺栓拧紧后在对电机轴进行安装校正,接着将可调垫铁进行浇注。质量通病是没有计算好水泵和电机底座的高度差,这会导致电机安装过程中联轴器之间的间距不能达到要求。电机的地脚螺栓没有放通线会导致电机不在一条线上,二次混凝土浇注不严密,垫铁调整时没有旋紧,地脚螺栓不垂直导致电机高速运行时产生振动使机座跑偏。
5.检测和调整
使用水平仪与线坠对水泵的进出口法兰和底座加工面进行测量和调整,对水泵整体进行精安装,使安装的卧式离心泵泵体水平度不大于0.1/1000,立式离心泵垂直高度不应该大于0.1/1000。
水泵和电机使用联轴器连接时,采用百分表和塞尺等在联轴器的轴向与径向进行测量与调整,联轴器轴向倾斜应该不大于0.8/1000,径向移位不应该大于0.1mm。
将水泵和电机的同心度进行调整,应该松开联轴器上的螺栓、水泵和电机以及底座连接的螺栓,使用不同厚度的薄钢板或者薄铁皮来调整角位移与径向位移。轻轻翘起电机或者水泵的某一需要调整的一角,用剪好的薄铁皮或者薄钢板垫与螺栓处。
检测合格后把之前松开的螺栓拧紧即可。
6.润滑和加油
查看水泵的油杯并且进行加油,盘动联轴器查看转动是否灵活有没有卡顿情况。
水泵的正确安装方法由水泵厂家总结。


CZW型卧式管道增压离心泵
FSB型氟塑料合金离心泵
czl系列单级单吸立式管道离心泵
