在安装卧式离心泵之前,应进行以下重新检查; 地基的大小,位置和标高应符合设计要求; 设备不应缺少零件,损坏或腐蚀等,并且喷嘴保护和阻塞盖应完好无损; 曲柄应灵活自由堵塞,卡死现象,无异常声音。
出厂前已组装并调试过的零件不应随意拆卸。
保证离心泵的安装位置水平。
卧式离心泵的地基高度应高于地面,以方便泵的安装,且高度应不小于0.1m。 将卧式离心泵运送到指定位置后,将设备吊起并安装,将其准确地定位在已完成的设备基础上,然后用螺母套上地脚螺栓,将垫片放在底座下,并用水平尺,首先将地脚螺栓调平。混凝土倒入里面。
凝土过期后,将其调平并拧紧地脚螺栓盖。 每组角铁均通过点焊固定,地基表面粗糙,用水冲洗并用水泥砂浆抹平。
管道安装应满足以下要求:
1.应清洁管道的内部和末端,不得损坏密封表面和螺纹,法兰端面或互连的螺纹轴线应平行且居中,不得强行连接。管道的重量不应增加泵的重量,而应有其自身的支撑。
2.管道连接到泵后,不得对其进行焊接和气割。如果需要焊接或气割,则应拆除管道或采取必要措施以防止焊渣进入泵并损坏泵部件。
安装完成后,转动泵轴和叶轮时应该没有摩擦或卡住。否则,应拆卸泵以检查原因。
3.应根据设备数据和设计图纸重新检查管道的配置。
4.每个卧式离心泵的出水管上应安装阀门,止回阀和压力表; 当泵直接从室外供水网络中抽水时,应在吸水管上安装阀门,止回阀和压力表,并应将泵旁通。设置一个装有阀的旁通管。
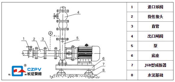
卧式离心泵的隔振与降噪:在水泵的进出水管上应安装挠性橡胶接头或波纹管金属接头。管道支架应采用弹性吊架和弹性支架。为了产生良好的隔振效果,必须设置基础隔振,管道隔振和支座隔振。必须根据计算结果和安装选择防震垫(减震器)的面积,层数,数量,型号以及挠性接头的型号和数量。减震器的参数,例如型号,定位尺寸和选件数量,与泵的稳定性和阻尼效果直接相关。 该参数的确定必须由专业技术人员的准确计算来确认。
应采取措施防止固体声在泵压过墙壁和地板的地方传播。
卧式离心泵调试要点
在确保电气控制的安全性,灵敏度和可靠性的前提下,对泵进行了单机测试。
关闭卧式离心泵出口管上的阀,然后在泵开始运行时逐渐将其打开,并检查是否异常,电动机的温度升高,卧式离心泵的运行情况,压力表的值以及密封性 接口的要求。
以上是上海长征泵阀对卧式离心泵的施工安装方法进行的简要总结。


TSWA型卧式多级离心泵
LG、LG-B型-多级立式不锈钢矿用多级离心泵
D型不锈钢多级卧式离心泵
