全国客服热线:021-6959 7022    5959 0318

管道循环泵的进水口和出水口要怎么辨别?

2020/9/22 11:25:34
    管道循环泵用于输送干净的水和其他具有类似于干净水的物理和化学性质的液体。适用于工业和城市给排水、高层建筑增压输水、花园喷灌、消防增压、长途运输、暖通制冷循环、浴室冷热水循环,管道循环泵的进水口和出水口大小一样,并且中心离地高度也一样,许多人认为,管道循环泵的安装不需要确定方向,实际上这是错误的。如果方向不正确,会造成压力不会上升或水压不够的情况。
循环泵
    区分管道循环泵的进出口方向的方法:

    1.通常,管道循环泵都有标记。泵体或底座上的箭头指向循环泵的出水口,剩余的就是是进水口。

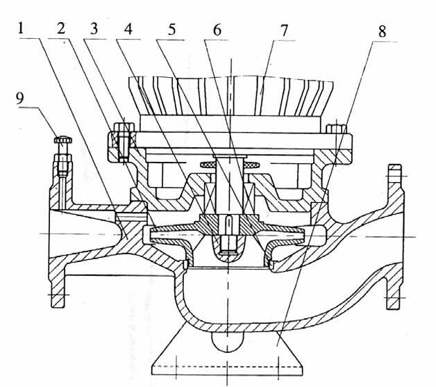
    2.观察结构,越靠近底座处的就是进水口,如下图所示,右边方向接近底座,即为进水口。水流进入被叶轮(2指向)吸走,然后抛出到出水口,从而进入管路。
循环泵结构图
    3.一般管道循环泵的出口设有铜质排气阀,用于排放或安装其它传感器。带有这个部件的出口就是出水口。如果您仍然不能区分,请联系我们的技术支持。