单吸泵也被称为单级单吸离心泵,单级单吸离心泵的按照结构可以分为悬架式单级单吸离心泵和单级单吸管道离心泵,单级单吸离心泵型号为IH(IS)单级单吸离心泵,单级单吸管道离心泵型号为CZL单级单吸立式管道离心泵、CZW卧式管道离心泵。下面讲解单吸泵的结构和优缺点。
单吸泵的结构
悬架式单级单吸离心泵结构

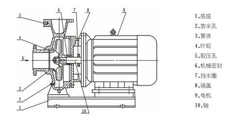
悬架式单级单吸离心泵如下图所示。单级是指泵轴上安装了一个叶轮,单吸是指从叶轮的一侧进水。叶轮安装在泵轴的一端被称为悬架式单级单吸离心泵。从图中可以看出单吸泵结构可以分为前开门式单级单吸悬臂式离心泵和后开门式单级单吸悬臂式离心泵。前开门式单级单吸离心泵的结构可以分为很多配件,分别是1.泵盖2.泵体3.密封环4.螺母5.叶轮6.键7.泵轴8.填料9.填料压盖10.挡水圈11.轴承盖12.单列向心球轴承13.托架14.定位套15.挡套16.压夜室17.吸液室等配件构成。后开门单级单吸离心泵的结构由1.泵体2.叶轮螺母3.止动垫圈4.密封环5.叶轮6.泵盖7.轴套8.水封环9.软填料10.压盖11.托架12.泵轴等配件构成。
单级单吸管道离心泵结构

从悬架式单级单吸离心泵和单级单吸管道离心泵结构图中可以清楚的看出,单级单吸管道离心泵和悬架式单级单吸离心泵相比,单级单吸管道离心泵取消了悬架和轴承、联轴器、联轴器罩、轴和底座的长度也缩小很多,很大程度的减少生产制造成本。单级单吸离心泵结构紧凑,单级单吸立式管道离心泵占地面积小,减少用户的投资成本,市场潜力巨大。
单级单吸管道离心泵的泵盖通过止口被固定在连接架上,分别通过泵体和电机连接,电机底脚和泵体底脚被固定在一个公共底座上。
单级单吸卧式管道离心泵采用后开门式结构,用户维修时只需把泵体和泵盖的连接螺母以及电机地脚螺栓拧下即可,不需要移动泵体和进出口管路就能把电机、连接架、泵盖和转子部件从泵内取出,维修操作相当便捷。
单级单吸卧式离心泵使用模块化标准设计,全系列共有21个基本型号和102种规格的泵型、16个连接架、7个泵轴、26个毛坯,零件通用性能强。
单级单吸管道离心泵采用优秀的水力模型,泵体与叶轮均采用标准规格生产安全可靠。
单级单吸离心泵的核心零部件是泵轴,泵轴是紧凑型结构。泵轴可以在工作时传递扭矩,还能通过螺钉和电机轴固定。泵轴的一端固定在叶轮上,另一端与电机轴等径的不通孔和电机相连,装配时起到定位的作用。
单级单吸管道离心泵对中精度高调整时比较方便。
市面上存在一种直连式单级单吸离心泵,这种结构的泵型和单级单吸管道离心泵都是从悬架式单级单吸离心泵延伸而来,两者略有差异。单级单吸管道离心泵是由电机轴和泵轴两根轴连接,电机符合我国标准,直连式单级单吸离心泵和电机共用一根轴,电机轴可以根据泵型进行定制,定制的电机价格比普通电机略高,成本会有所增加。
单级单吸管道离心泵取消了悬架部件,运转时产生的负荷有电机轴承承受。大部分轴向力通过双口环与叶轮平衡孔进行平衡,剩余的部分轴向力由电机轴承承受,所有的径向载荷由电机轴承承受。经过前期的试运行试验表面电机轴承温度应该在正常范围内使用。
离心泵的主要配件之一是叶轮,是对液体作功的主要部件。叶轮的尺寸和外形是通过水力计算得出的,一般由两个圆形盖板和盖板之间的若千片弯曲的叶片和轮毅构成,叶轮被固定在轮毅上,轮毅中间有穿轴孔和泵轴相连。
泵壳是主要的固定部件,泵壳通常铸成蜗壳形。可以收集来自叶轮的液体,把液体的动能转化为静压能,然后把液体均匀地导出排出口。泵壳上设有充水和放气的螺孔,便于单吸泵启动前用来充水和排走泵内的空气。泵壳的底部设有放水孔,便于停车检查时排出泵内的积液。
填料盒是常用的轴封装置,在单级单吸离心泵中,假如没有使用轴封装置,泵壳里会有高压水大量往外泄露。常见的压盖填料盒由5个配件构成,分别是轴封套、填料、水封环、水封管和填料压盖。
泵座起到固定离心水泵的作用。泵座上有螺栓孔,泵座的横向槽底设有泄水孔,可以随时排出填料盒内流入的渗漏水。泵壳上面设有充水与放气的螺孔,假如单吸离心泵运行中暂时停用,可以用带有螺纹的丝堵堵住。
单吸泵的优缺点
|
类型 |
优点 |
缺点 |
|
悬架式单级单吸离心泵 |
全系列水力性能范围广;前开门式和后开门式结构,检修时无需移动泵体与管路维修便捷;单吸泵本身轴承可以承受径向力和部分轴向力,轴封可以采用机械密封或者填料密封;使用时性能稳定可靠。 |
结构比较复杂,体积比单级单吸管道离心泵大,占地空间也大。 |
|
单级单吸管道离心泵 |
结构紧凑占地面积少;后开门结构,检修时无需移动泵体和管路,维修便捷;泵轴比悬架式单级单吸离心泵短,转动时径向圆跳动量小;不需要须对中;使用性能稳定可靠;价格便宜。 |
弹性联轴器连接单吸泵和电机,后期维护成本较高,泵轴加工工艺要求高。 |
单吸泵的结构和优缺点由离心泵厂家总结。


IH(IS) 不锈钢化工离心泵
IHF系列氟塑料衬里离心泵
FSB型氟塑料合金离心泵
