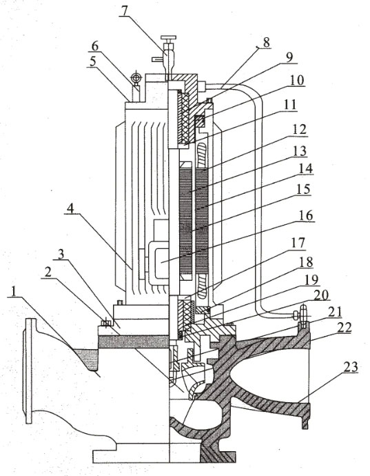
从屏蔽泵结构解剖图可以看出PBG屏蔽泵是由二十多个零部件组成的,屏蔽式管道离心泵的主要零部件分别有叶轮、叶轮并帽、泵体、转子组件、定子组件、接线盒、循环水管、键、过滤网等等组成。
屏蔽泵结构解剖图
屏蔽泵结构特点
屏蔽式管道离心泵是本公司针对市场上水泵普遍噪音高振动大等弱点,新研发的一种新型屏蔽泵。对屏蔽式管道泵与电机进行了一体化设计,泵腔与电机组成一个密封整体,解决了由于密封损坏而引发的泄漏问题,可以确保液体介质没有泄漏,去掉了传统水泵的滚动轴承,使用浸渍树脂石墨轴承,通过自身泵送的流体介质来进行润滑轴承,使屏蔽泵的噪音更低。屏蔽泵具有结构紧凑、安装便捷、性能可靠、低噪音无振动、零泄漏、使用年限长经久耐用等特点。屏蔽泵是立式单级单吸离心式,泵的进出口在同一水平轴线上,进出口径规格相同能直接安装在管路的任何部位上面,节省占地面积,拆卸与维修时比较便捷。电机的定子与转子由各自的屏蔽套来进行封闭隔离。轴承使用泵送液体介质来进行润滑与冷却,液体会在电机中进行不断循环,会对电机起到冷却作用,又会对轴承起到润滑作用。屏蔽泵设有底座可以直接安装在地基上面,也能带联接板加装隔振器。
综上所述屏蔽泵结构解剖图及结构特点由离心泵厂家总结,屏蔽式管道泵适用于冷水机组、区域制冷、生产车间等。推荐阅读:屏蔽泵的种类和用途


102型、103型、104型、105型塑料离心泵
FS型玻璃钢离心泵
PF型强耐腐蚀化工离心泵
