水泵是将原动机的机械能或者其他外部能量传送给液体,确保液体能量可以增加,主要可以用来泵送油、水、乳化液、酸碱液、液态金属、悬乳液等等。水泵也能泵送液体和气体混合物以及含有悬浮固体物的液体。水泵可以分为卧式安装与立式安装,这取决于用户以及现场实际工况的需求。下面讲解水泵安装图解。
基础检查
基础坐标、尺寸、标高、预留孔洞应该符合设计要求。基础表面应该平整、混凝土强度可以达到设备安装要求。
1.循环水泵基础的平面尺寸没有隔振安装时应该在水泵机组底座四周各流出100毫米~150毫米,有隔振安装时应该在隔振基座四周各流出150毫米。基础顶部标高没有隔振安装时应该高出泵房地面完成面100毫米以上,有隔振安装时高出泵房地面完成面50毫米以上,并且不能形成积水。基础外围周边没有排水设置,便于维修时排水或者将漏水事故排除。
2.抽水泵基础表面与地脚螺栓预留孔中的碎石、油污、积水、泥土等清除干净。预埋地脚螺栓的螺纹与螺母应该保护完好。放置垫铁部分的表面应该凿平。
水泵安装
把水泵放置在基础上,可以用垫铁把水泵找正找平。水泵安装后同一组垫铁应该焊在一起,防止受力时出现松动。
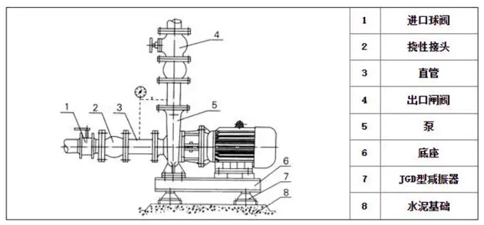
1.水泵没有隔振安装
潜水泵找正找平后,将地脚螺栓装上。地脚螺栓二次灌浆时混凝土的强度应该比基础高1级~2级,灌浆时应该捣实并且不应该使地脚螺栓倾斜与影响水泵机组的安装精度。
2.水泵隔振安装

卧式水泵隔振安装
卧式水泵机组的隔振措施是在钢筋混凝土基座或者型钢基座下安装橡胶减振器或者弹簧减振器。
立式水泵隔振安装
立式水泵机组的隔振措施是在水泵机组底座或者钢垫板下安装橡胶减振器。
水泵机组底座与减振基座或者钢垫之间使用刚性连接。
减振点或者减振器的型号规格、安装位置应该符合设计要求。同一个基座下的减震器应该使用同一生产厂家的同一型号。
水泵机组在安装减振器过程中需要使用防止水泵机组倾斜的措施。在水泵机组减振器安装后,在安装水泵机组进出水管道和配件以及附件时,需要使用避免水泵机组倾斜的措施来确保安全施工。


TSWA型卧式多级离心泵
LG、LG-B型-多级立式不锈钢矿用多级离心泵
D型不锈钢多级卧式离心泵
