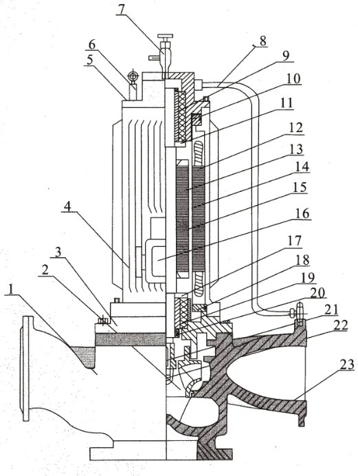
从屏蔽泵的结构剖面图中可以看出屏蔽循环泵的零部件有二十多个,屏蔽式管道离心泵的主要零部件有叶轮、叶轮并帽、泵体、过滤网、键、电机、定子组件、转子组件、定子屏蔽套和转子屏蔽套等组成。屏蔽泵在安装前需要仔细对泵体进行检查工作,检查屏蔽式管道泵的外观有没有明显的碰伤与缺陷等。屏蔽泵安装时管口的高度不能高于吸入口太多,选择会影响泵的吸入性能。
屏蔽泵的结构
从上面的屏蔽泵的结构剖面图可以看出,屏蔽泵的叶轮与电机转子连接在一起,并且被装在同一个密封的壳体中,屏蔽式管道泵不需要安装任何的动密封装置,会从根本上将泄漏的可能性有所消除,屏蔽泵尤其适用于含有易燃易爆、放射性、有毒等贵重液体的输送。
(1)屏蔽泵主要是由泵与电机组合在一起,其中转子和定子的表面分别使用非磁性薄壁材料来进行包裹,转子是由前导轴和后导轴支撑,被浸在泵送的介质当中。
(2)泵与电机为一体化结构,电机与泵是同轴进行连接的。
(3)转子轴端一般装有叶轮会形成没有轴封的结构,可以做到没有介质泄漏的输送目的。
(4)电机是利用定子和转子之间的循环介质来对电机进行冷却的,可以使用电机机座表面来进行冷却。
(5)定子内侧与转子外侧是有屏蔽套的,而屏蔽套的内侧与泵中相连接。

屏蔽泵的安装
(1)屏蔽泵的安装方式可以是水平安装,也可以是垂直安装,用户在安装前需要查看泵的紧固部件是否出现松动,泵体的流道是否有杂物堵塞,防止造成屏蔽式管道离心泵的运行过程中出现叶轮与泵体的损坏。
(2)为了避免有杂物或者异物进入泵中导致流路堵塞而对泵的使用性能造成影响,所以在泵的入口前安装过滤器装置。
(3)进出水管的重量不能全部由泵体来支撑,安装过程中不能在泵上增加管道的重量,屏蔽泵应该有独立的支撑体,防止对泵的运行性能有所影响。
(4)假如采用屏蔽泵进行热水液体的泵送,为了确保泵可以承受管道的热变形通常不需要固定底座的螺栓。管道系统由于受到热胀冷缩过程中管道与泵会一起运动。
(5)为了便于维护可以在进水口安装阀门。为了安全使用与维护方便应该在进出口管道上安装调节阀装置,可以在进出口附近安装压力表装置,来确保屏蔽泵在额定范围中运行。一般会在出口处安装阀门与止回阀,假如可以还需要在进口处安装软接头。


DG型中低压高压次高压锅炉给水多级离心泵
CHDF轻型卧式不锈钢多级离心泵
TSWA型卧式多级离心泵
